工具のセット方法は、サンプルファイル(ATC.TTL)を参照していただいた方がイメージがつかめるものと思います。
また、工具表示ダイアログによりビジュアルな確認ができます。
工具設定ファイルは基本的に、
TRYCUTが起動された直後にスピンドルにセットされる工具番号を指定するINI定義と、
それぞれの工具属性を定義するMAGAZINE定義からなります。
また先頭が # で始まる行はコメント行となります。
<基本形式>
#
INI = MAGAZINE(番号) :起動時にスピンドルにセットされている工具の
マガジン番号(MAX=200)
MAGAZINE(番号)= (工具定義):マガジン番号に対応する工具の定義
(詳細はサンプル・ファイルのATC.TTLなどを参考にしてください)
定義されたマガジンの番号は、NCデータにおいてTコードの番号に対応付けされます。
(工具交換の方法は、機械定義ファイルの指定によります。)
<基本形式例>
INI = MAGAZINE01
MAGAZINE01 = ...... (ひとつのMAGAZINE定義で複数行可)
.
.
MAGAZINE02 = ......
・
・
・
工具マガジン番号は初期状態では最大で200までになっていますが、
この最大数は初期設定ファイル[Define]セクションの"MAX MAGAZINE"で変更可能です。
ひとつの工具の定義内容は、
刃先形状(CUTTER,BALL,TAPERBALL,BULL,FLAT,VERTICAL,RADIUS,DRILL,OVAL,OVALR)、
突き出し長(LENGTH,LENGTH2,LENGTH3)、
工具保持具形状(ARBOR,ARBOR2,ARBOR3)、
指令位置の先端からの高さ(SHIFT)、
ペン番号(PEN) 、
工具負荷限界値(LIMIT,LIMITS)、
最適化送り速度の指定(OPT-F(*))
の7つの要素からなります。
シミュレーションに最低限必要な定義は刃先形状で、
それ以外のものは省略可能です。
ただし、その場合は工具保持具の干渉チェックが行われないことや、
自動的に工具指令位置が工具先端とみなされること、
切削面に色がつかないなどの制約があります。
一番汎用的な刃先形状の定義は、CUTTER文指定で、APTフォーマットに準拠しています。 色々な工具種類を定義することが可能ですが、専用の定義文はより簡単に定義ができます。 例えば、ボール・エンドミルは、BALL文で定義したほうが簡単です。
CUTTER/D,r,E,F,α(;Db),β(;Du),h(,n)(工具全般の定義文)
※現状、Eは従属値で内部的には他のパラメータから再計算されます。Fも r < 0.0 時以外は同様です。
BALL/D,h(,n)(ボール・エンドミル専用定義文)
TAPERBALL/r,β(;Du),h(,n)(テーパー・ボール・エンドミル専用定義文)
FLAT/D,h(,n)(フラット・エンドミル専用定義文)
BULL/D,r,h(,n)(ブル・エンドミル専用定義文)
RADIUS/D,r,F(,n)(ラジアスミル/丸駒チップ専用定義文)
DRILL/D,α,h(,n)(ドリル専用定義文)
| 指定パラメータ | 説 明 |
| D | 工具直径 |
| r | コーナー半径、チップ半径(RADIUS文時)、または先端半径 |
| E | コーナー中心点の巾 |
| F | コーナー中心点の高さ または内径高さ(RADIUS文時) |
| α(;Db) | 底面角度
※基本的な仕様は工具中心位置からの傾斜角になりますが、
中心位置の底面にフラット部が存在する場合には、
セミコロン(;)を付けて底面径(Db)を指定して下さい。 |
| β(;Du) | 側面角度(テーパー角)
※本指定は、有効刃長(h)の上限までテーパー部が続いている想定となります。
最大径のLIMITを設定する場合には、続けてセミコロン(;)後に上部径(Du)を指定して下さい。 |
| h | 有効刃長(RADIUS文以外) |
| (n) | 明示的な工具名称(省略可) ※指定しておくと工具表示ダイアログのタイトルバーにここで指定された名称が表示されます。 |

OVAL/D,ra,rb,h(,n)(オーバル/楕円 工具専用定義文)
D:工具直径、ra:楕円縦半径、rb:楕円横半径(rb=D/2)、h:有効刃長
OVALR/D,ra,rb,r,h(,n)(複合楕円 工具専用定義文)
D:工具直径、ra:楕円縦半径、rb:楕円横半径(rb>D/2)、r: コーナーR、h:有効刃長
(刃先形状指定例)
#CUTTER/10,5,0,5,0,0,20 と
#BALL/10,20 は、同じ意味となります。
※現在のバージョンでは、CUTTER文のE値は従属値とみなし無視します。
※現在のバージョンでは、特殊なケース(コーナーが凹Rのとき)
を除きCUTTER文のF値は従属値とみなし無視します。
※コーナーが凹Rになっている場合は、CUTTER文やBULL文で r値をマイナス指定して下さい。
またCUTTER文のF値をコントロールすることにより以下のような凹部分にストレートのある工具定義も可能です。
例:#CUTTER/2.0,-0.5,0.5,1.25,0.0,0.0,1.25

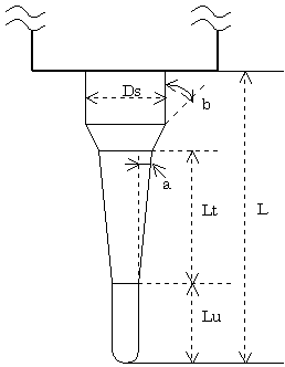
※工具径とシャンク径が異なる以下のような工具は、LENGTH2文を利用して下さい。
LENGTH2/L,Lu,Lt,Ds
※テーパー部(Lt)の干渉チェックを行う場合は、
「アーバー/テーパー干渉チェック(A)」にて指定して下さい。




ARBOR3/D1,H1,K1,D2,H2,K2,,,Kn-1,Dn,Hn ( nは1〜10まで ) - 混合定義

工具保持具形状の指定は、n段階の直径とそれぞれの長さで指定するようにして
います。(現在の仕様では、nは10個までです。)
☆工具保持具形状は同じ場合が多いため、
これら(ARBOR/ARBOR2/ARBOR3)の定義部分のみ外部ファイル(拡張子*.ATL)に書き出しておいて、
そのファイル名を指定する方法があります。
指定例:
ATL = HOLDER1.ATL
※ここで指定するATLファイルは、起動中に更新しても自動的に再読み込みを行わないため、
ATL側の更新を行った場合には、再度TTLを読み込むかTRYCUT側を再起動して下さい。
※ファイル名の指定で""ダブルクォーテーションは不要です。
※TTLファイル側と同一フォルダに保存されている場合にはフルパス指定は不要です。
※TTLファイル側と別のフォルダに保存されている場合にはフルパス指定して下さい。
SHIFT/s s:指令位置の先端からの高さ
このSHIFT文により、工具指令位置を工具先端もしくは工具中心、
工具取り付け位置などに指定することができます。
この文を省略した場合は、工具先端が指定されます。
長補正(G43,G44,G49)動作の正確なシミュレーションを行ないたい場合は、
長補正量の設定と同時に必ず本指定を行って下さい。
直径10mmボールエンドミルで、工具中心で指令する例
BALL/10.0,10.0 SHIFT/5.0
※指令位置が基準化されていて設定を簡素化したい場合には、
初期設定ファイル[Define]セクションのTOOL BASE POINTでの対応もご一考下さい。
場合によっては本SHIFT文を省略することができます。
PEN/n n:ペン番号(1〜7) 、n≧8指定時はn=7と見なす
このペン番号で指定されている色により切削面が変色します。
このペン番号に対応する実際の色は、
「表示制御(P)」−>「色の設定(W)」で指定します。
またその色の初期値は初期設定ファイルで指定しておくことができます。
このPEN文を省略した場合は切削面は変色しません。
直径10mmボールエンドミルで、切削面にペン番号1の色を付けたいときの例
BALL/10.0,10.0 PEN/1
LIMIT/v v:単位移動(1mm)当たりの切削除去量限界値
このLIMIT文にて「単位移動(1mm)当たりの切削除去量限界値」を指定している場合は、
この値以上の除去量を切削しようとしたところで、
「工具が過負荷で破損しました」メッセージを出力して加工を中断します。
この単位移動(1mm)当たりの切削除去量限界値の最適な値は、工具径や、 工具形状、チップの枚数、素材、工法、機械の剛性、送り速度、スピンドル回転数など、 様々なファクターにより変わってくるもので、 基本的には現場ごとに異なるものと解釈しておく必要があります。 また、あくまでも目安的なものですので、 いくら最適な値を指定したとしても実際との違いは出てきます。
このLIMIT文使用時は、 一度最適化機能で出力される切削モニタリングデータを参照していただき、 日常加工している経路が、 どれぐらいの除去量で加工を行っているかを把握しておいていただく必要があります。 切削モニタリングデータのテキスト版は、 一般的なテキストエディターで参照可能です。また、 バイナリ版はフォーマットを 公開していますが、一目で解かるようなファイルではありません。 そのため、それぞれ簡単に目視で確認できるツールもフリーソフトで公開しています。 全般的にどれぐらいの除去量で加工しているか、 最大値(Peek)がどれぐらいかの、おおよその見当を一目で把握することができます。
また、モニタリングデータなどで情報として出力している切削方向(全面部、垂直部、
アップカット部、ダウンカット部)別にも、
それぞれの限界値を個別指定することも可能です。
指定方法は、それぞれの4つの値をカンマ","区切りで以下のように指定して下さい。
LIMIT/v1,v2,v3,v4
v1,v2,v3,v4:それぞれ全面部、垂直部、
アップカット部、ダウンカット部の単位移動(1mm)当たりの切削除去量限界値
<指定例>
LIMIT/200,200,50,50
本LIMIT文指定により、 限界値以上に加工しようとするところを見つけるとシミュレーションは強制的に中断してしまいます。 このことがシミュレーション環境において求められている場合は、 非常に有効なものになるはずですが、 あくまで参考情報にしたいというレベルでシミュレーションを行う場合には、 強制的な中断ではなく、情報を後でリストとして参照したいというニーズもあるかと思われます。 このような場合は、"LIMIT"文を"LIMITP"文で置き換えて下さい。 それぞれ限界値を超えたところのNCデータにおけるブロック番号: 座標値:除去量の羅列を作業フォルダ下にファイル名"LIMITP.TXT"というテキストファイルを出力し、 もしひとつでも限界値を越えているものがあれば自動的に開かれます。
<出力例>
T05
39:X50.000000Y0.000000Z5.000000:67.595921
43:X50.000000Y20.000000Z5.000000:66.662453
49:X0.000000Y40.000000Z5.000000:67.595921
55:X50.000000Y60.000000Z5.000000:67.595921
68:X0.000000Y95.000000Z5.000000:67.595921
76:X50.000000Y140.000000Z5.000000:67.595921
----------------------------------------------------------
LIMITS/v v:単位時間(1秒)当たりの切削除去量限界値
"LIMIT"文,"LIMITP"文は、双方共に単位移動(1mm)当たりの切削除去量限界値
指定によるものですが、これらのそれぞれに対して、"LIMITS"文,
"LIMITSP"文
に差し替えることより、「単位時間(1秒)当たりの切削除去量限界値」指定とみなします。
"LIMITSP"文指定時は、
ファイル名"LIMITSP.TXT"が"LIMITP.TXT"と同様フォーマットで作成されます。
ただし、この設定はNCコードの各ブロックで指定されているF値そのままの速度で機械が動作するという仮定での判定を行うため、
実際との乖離が生まれるものと予想されます。
実際はF値の追従性が完全ではないことから速度は遅めになるため、安全サイドの判定にはなります。
単位移動(1mm)当たりの切削除去量に関しましても、目視で確認できるツール TrMonitor(フリーソフト)をご利用いただければ、 だいたいの目安を知ることができます。
----------------------------------------------------------
もし、これらのチェックが、ほぼ正確に行えるのであるならば、
過負荷部分では、速度を落としたい。
さらに負荷の軽いところでは逆に速度を上げたいなどの要求は自ずと出てくるものかと思われます。
このあたりに従来から対応してきたのが、次ぎの「最適化送り速度の指定」で、
最適化機能により与えられた
NCデータのF値を最適なものに切り替えることができます。
最適化後の送り速度を、以下の4種類の切削状態(方向)別に、 単位移動あたりの切削除去量を基準にして、段階的にF値を定義しておきます。
※F値:f1〜fn(f1<f2<・・・<fn) 分割数:1 ≦ n ≦ 20
※単位(1mm)移動あたりの切削除去量(立方mm):v1〜vn-1(n=1のときは不要)
(v1>v2>・・・>vn-1)
OPT-F(A)/f1,v1,f2,v2・・・vn-1,fn 全面部用 "(A)"は省略可
※全面部とは、垂直切削以外で、工具のアップカット側、ダウンカット側の
一部でも双方で切削している場合に指す。
最適化処理で送り速度をコントロールする場合
(最適化しない場合は省略可)は、工具ごとに指定しておきます。
単位移動あたりの除去量をV、最適化処理の結果指定されるF値をFとした場合、
vi-1≧V>vi のとき F=fi (vの値を区切りにして、前後のf値が指定される)
ただし工具が被切削材に進入する部分は、最低送り速度(f1)が指定されます。
なお垂直加工・アップカット・ダウンカット部分を別基準で指定しておきたい場合は、
次ぎのように専用の指定文を使います。シミュレーション中これらの該当部分を自動認識すると、
専用の指定文で定義されている場合はそちらを優先して最適化が行われます。
OPT-F(V)/f1,v1,f2,v2・・・vn-1,fn 垂直加工部用
垂直に下降して加工している部分の送り速度指定。
OPT-F(U)/f1,v1,f2,v2・・・vn-1,fn アップカット部用
進行方向に対して工具の左側でのみ切削している部分の送り速度指定。
OPT-F(D)/f1,v1,f2,v2・・・vn-1,fn ダウンカット部用
進行方向に対して工具の右側でのみ切削している部分の送り速度指定。
<単位(1mm)移動あたりの切削除去量(立方mm)の例>
例1:10φボール:垂直下降全面あたりの場合
π(3.14159) x 5.0 x 5.0 x 1.0 = 78.54 (立方mm)
例2:20φフラット:ダウンカット、切り込み深さ2mm、
切り込みピッチ2mmの場合
2.0 x 2.0 x 1.0 = 4.0 (立方mm)
☆単位移動当たりの除去量の目安を知りたい場合は、
一度最適化処理を行っていただき切削モニタリングデータを参照していただくのがよいかもしれません。
